液壓支架液壓系統中用以閉鎖液壓缸中的液體,使之承載的控制元件為液控單向閥。液控單向閥常用的型號: KDF1B 、KDF1C、KDF2Z、KDF 1d、ZDF-42/200

液控單向閥型號
| 序號 | 圖號 | 產品名稱 | 規格型號 | 單位 |
|---|---|---|---|---|
| 1 | PWZ1003 | 液控單向閥 | PWZ1003 | 套 |
| 2 | DS10A | 液控單向閥 | 不銹鋼 | 套 |
| 3 | JKDF1B | 液控單向閥 | JKDF1B | 套 |
| 4 | ZT00FD-03 | 液控單向閥 | Q/ZZM2050-87(KDF1C) | 套 |
| 5 | ZT00FD-04 | 液控單向閥 | KDF1d | 套 |
| 6 | FDF1d | 液控單向閥 | FDF1d | 套 |
| 7 | KDF1B | 液控單向閥 | 件 | |
| 8 | ZKF2 | 液控單向閥 | ZKF2 | 套 |
| 9 | GBKF2 | 液控單向閥 | GBKF2 | 套 |
| 10 | KDF2 | 液控單向閥 | KDF2 | 套 |
| 11 | DS10X | 液控單向閥 | 不銹鋼 | 套 |
| 12 | ZT00FD-06 | 液控單向閥 | YDFB200/400 | 套 |
| 13 | ZT00FD-05 | 液控單向閥 | ZDF-42/200 | 套 |
| 14 | YDFC-200/400 | 液控單向閥 | YDFC-200/400 | 套 |
| 15 | YKF-42/125 | 液控單向閥 | YKF-42/125 | 套 |
| 16 | KYKDF10 | 液控單向閥 | KYKDF10 | 套 |
| 17 | FDY280B | 液控單向閥 | FDY280B | 套 |
| 18 | YDF-45/400G | 液控單向閥 | YDF-45/400G | 套 |
| 19 | FDY280-00C | 液控單向閥 | FDY280-00C | 套 |
| 20 | FYKZ16 | 液控單向閥 | 套 |
液壓支架液壓系統中用以閉鎖液壓缸中的液體,使之承載的控制元件為液控單向閥。
一、液控單向閥常用的型號:
KDF1B 、KDF1C、KDF2Z、KDF 1d、ZDF-42/200
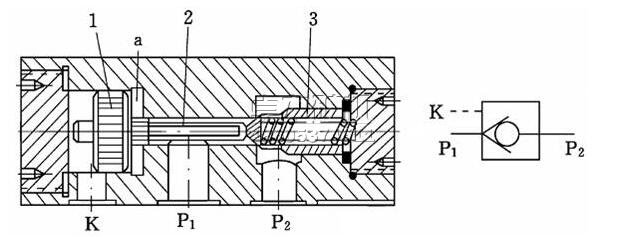
二、液控單向閥示意圖及機能符號:

三、液控單向閥試驗方法與要求:
a、密封可靠,特別是鎖緊立柱下腔液路的液控單向閥,需長時間保持絕對密封。
b、動作靈敏,尤其要求關閉及時,保證剛剛鎖緊的液壓缸中的壓力不低于泵站
供液壓力的90%。
C、阻力損失小
Q≤125L/min Δp ≤5MPa
125L /min ≤ Q≤250L/min
Δp≤6MPa
250L /min ≤ Q Δp≤7MPa
d、瞬態沖擊,卸載過程最大沖擊壓力值不得大于公稱壓力的115%。
e、工作壽命長,保證工作面推進800-1000米不需更換。壽命試驗3萬次。
四、液控單向閥作用:
主要用來閉鎖液壓支架立柱千斤頂工作腔中的液體,而使之保持壓力。當液壓支架立柱千斤頂另一腔進液時,同時給該閥的控制腔供液,將閥打開,使液壓支架立柱千斤頂工作腔中的液體回液。
五、液控單向閥檢測標準
1、 閥體襯套不得有裂紋、撞傷變形等缺陷。
2、 閥內零部件所有孔道、螺紋底部不得有積垢等雜物。
3 、 閥體和襯套、螺紋有輕微損傷可修復使用,新換件應去除毛刺。
4 、 閥內彈簧不得有銹斑或斷裂、塑性變形不大于5%。
5、 閥芯及其它鍍層表面,鍍層不得膠落和出現銹斑。
6 、 所有密封件全部更換新件。
7 、 閥座錐形聚甲醛密封及閥芯接觸表面粗糙度不得大于Ra0.8。
8 、簧兩端面必須磨平,使兩端面與中心線垂直。
六、液控單向閥一般故障的處理辦法:
|
液 控 單 向 閥 |
不能閉鎖油路 |
1、閥芯與閥座密封處有雜物。 2、閥墊或O形圈損壞。 3、閥芯多次沖擊變形,蹩卡不復位。 4、與之配套的安全閥損壞。 |
1、拆卸清理雜物。 2、更換密封件。 3、更換閥芯或整體更換 4、更換維修。 |
|
閉鎖腔不回液 立柱千斤頂不 降柱 |
1、頂桿變形、折斷、打不開閥芯。 2、頂桿處密封損壞,向回路串液。 3、控制油路堵塞,不通液。 4、頂桿與殼體或閥套蹩卡,推不動。 |
1、更換頂桿。 2、更換密封件。 3、檢查管路,保障暢通。 4、更換。 |
|
| 立柱上腔漲缸 |
1、液控腔不回液或閥接板孔不透。 2、彎頭、膠管等管路不通。 3、回液截止閥、回油斷路閥沒打開。 4、操縱閥不回油或打開間隙太小。 |
1、檢查更換。 2、檢查更換。 3、打開截止閥。 4、維修操縱閥。 |
![[field:title function='html2text(@me)'/]](/static/upload/image/20250915/1757906885102576.png)
![[field:title function='html2text(@me)'/]](/static/upload/image/20250813/1755066320148657.png)
![[field:title function='html2text(@me)'/]](/static/upload/image/20250813/1755066237177295.png)